水务管网板桩明挖工程中既有管线位置的两种组合槽钢支护技术
钟卓轩 李周 刘楠 宋军学 唐瑞龙 李梦云
中建科工建设投资(深圳)有限公司 广东省深圳市 518000
0 前言
随着城市化进程的加快,城市人口快速增长,市政管网的建设需求量也随之不断增多,对于处于人口密集的城市核心区域,地面下原有的给水、排水、电力、电信、燃气等管线错综复杂,其中不少管线会分布在新建管网线路上[1]。
水务管网工程中往往采用明挖法,并在开挖深度 ΔH⩾2m 的基坑工程中,往往使用槽钢或钢板桩作为基坑支护进行新建管道的沟槽施工[2],但在横跨基坑的既有管线保护情况下,不能直接使用槽钢或钢板桩支护施工,导致既有管线位置无支护,基坑整体支护侧壁不连续,存在沟槽渗水及局部坍塌的风险[3]。
彭富波等人 [4] 提出因管线与现 析 局部采用注浆加固或微型桩排桩支护,结合微型桩排 ,在槽钢或钢板桩之间采用钢筋连成整体,并增加对撑 在无法打桩的地方设钢筋网,再进行混凝土浇筑,参照 混凝土护壁。虽然解决了既有管线位置导致基坑支护结构不 护及钢筋混凝土护壁等支护方式成本较高,施工周期较长,材料回收 管线的流水线化施工模式。
为解决上述问题,开发水务管网板桩明挖工程中既有管线位置的组合槽钢支护技术十分有必要,本技术成功的在“大沙河流域市政污水管网完善工程项目(打包立项)(施工)Ⅰ标段”项目得到应用,本文以具体项目为例,阐述既有管线位置的组合槽钢支护技术应用及分析。
1 工程概况
“大沙河流域市政污水管网完善工程项目(打包立项)(施工)Ⅰ标段”位于南山区沙河街道的华侨城片区,其施工范围覆盖了由北环大道、侨香路、深南大道与沙河东路所围合的核心区域。本项目致力于对该区域内的雨水及污水管线进行新建、更新与扩建工作,是深圳市南山区城市基础设施建设中的一项关键性工程。项目的实施,对于优化城市水环境、提升居民的生活品质具有深远的意义。
雨水污水管道完善工程共 20 个路段,包括明挖(最大深度 5.82m,钢板桩支护)、顶管(6 个路段,最大埋深 8.24m,包括泥水平衡及人工顶管施工)、绿化迁移恢复、管线迁改、路面恢复、水土保持等。其中新建改建 DN300\~DN1200 污水管道及一段 2900×3350 污水箱涵共约 10.418km,新建改建 DN300\~DN1200 雨水管道共约 3.031km。
本管网工程中大部分管底标高较浅,明挖施工中除个别管段最大深度达 5.82m,其余大部分埋深在2.0\~4.0m,管道口径最大为 DN1200,管线距离总长约为 13.449km,工程范围内给水、排水、电力、电信、燃气等管线错综复杂,新建、更新与扩建的管道明挖沟槽与既有管道横向交错而导致的槽钢或钢板桩支护不连续位置共约321 处,因此支护不连续现象在本工程中出现频率较高,安全风险较大。
2 关键技术内容
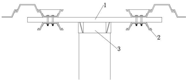
2.1 既有管线位置的组合槽钢支护结构(其一)开发既有管线位置的组合槽钢支护结构(其一)组成
在传统的面对既有管线位置板桩支护不连续处理技术的基础上,通过查阅大量文献和借鉴装配式等基坑支护技术 [5-7],并结合现场实际工序、材料及需求情况,开发出了既有管线位置的组合槽钢支护结构(其一),该结构由:槽钢组合板结构 1、限位桩结构 2、法兰盘管线保护结构 3 组成,槽钢组合板结构 1 包括 25a 槽钢,M10 螺栓,限位桩结构 2 包括原状钢板桩支护、限位钢板桩、M16 螺栓、传力垫板,法兰盘管线保护结构 3 包括法兰盘底板、肋板、上下螺栓夹合板、M10 螺栓。如图1 所示。
图1 组合槽钢支护结构俯视示意图

既有管线位置的组合槽钢支护结构(其一)工作原理
挖出既有管线后,在既有管线左右侧夯入两根限位钢板桩,在原状钢板桩支护与限位钢板桩上端使用 M16螺栓拉紧传力垫板。通过限位钢板桩与螺栓为槽钢组合板提供垂直基坑侧壁力,并使槽钢组合板夹紧闭合,有效避免土体流动及地下水渗漏。
吊装法兰盘管线保护结构嵌入既有管线侧面土体。不固定连接槽钢组合板,使既有管线不因管线或组合槽钢沉降导致挤压破损,并依靠组合槽钢提供抵挡土压力的垂直基坑侧壁力。
相邻 25a 槽钢侧面上紧螺栓以连接成为组合板结构,并叠压法兰盘结构。槽钢组合板接收并传导法兰盘的土压力至限位桩结构,由限位桩结构传导入基坑底部土体,完成土压力受力抵抗闭合。槽钢间通过螺栓牵拉紧密连接,有效避免土体流动及地下水渗漏。
2.2 既有管线位置的组合槽钢支护结构(其一)施工技术步骤钢板桩,传力垫板,槽钢,法兰盘管线保护结构,螺栓的制作、
钢板桩支护施打期间,找到既有管线处左右侧的一对支护钢板桩,在其正对面施打一对分别对应的槽面向基坑内的一对限位钢板桩,并保证支护钢板桩与限位钢板桩相对凸面的间距为槽钢腿宽。
基坑土体开挖完成后,在既有管线基坑壁附近开挖法兰底板相同的矩形土体,汽车吊起吊法兰盘管线保护结构上下部分在既有管线上套装并上紧螺栓,同时法兰底板嵌入开挖的基坑壁矩形槽,保证支护钢板桩凸面、基坑壁表面与法兰底盘上部三者平面平行。
在既有管线侧面起吊槽钢,槽钢槽 直基坑壁向基坑 过左右侧的限位桩结构预留的空隙空间,横向水平插入,从下往上堆叠, 其 ,且既有管线左右侧插入槽钢为短槽钢以保证预留位置给既有管线, 相互连接成为组合板结构,保证既有管线附近的上下槽钢与左右短槽钢能够叠压在法兰盘管线保护结构的法兰盘底板之上,各边分别叠压100mm 以上。
最后在限位桩结构的支护钢板桩与限位钢板桩上端使用两组螺栓压紧两组传力垫板以拉紧限位桩结构,保证槽钢组合板结构腰面与支护钢板桩凸面紧密贴合。
含既有管线的该段基坑新建管线施工完毕后,先解开槽钢组合板及限位桩结构上的所有螺栓,随后使用汽车吊逐一吊起槽钢,横向水平抽出,从上往下一一拔除。再解开法兰盘管线保护结构上的所有螺栓,随后使用汽车吊吊起拆卸法兰盘管线保护结构。
既有管线位置的组合槽钢支护技术(其一)有效实现既有管线位置的基坑侧壁的支护,降低基坑支护不连续导致的安全风险。该技术密闭性较好,能阻挡流动性土体和地下水渗漏,同时大型机械额外调动少,与施工流程中大型机械使用情况相契合,且所有结构均可回收重复使用,符合节能、节材、环保的要求。
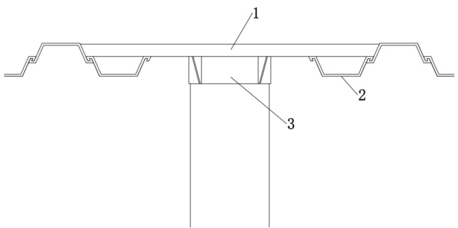
2.3 既有管线位置的组合槽钢支护结构(其二)开发既有管线位置的组合槽钢支护结构(其二)组成
在既有管线位置的组合槽钢支护结构(其一)处理技术的基础上,通过现场实际应用效果及反馈,开发出了基坑侧壁土体稳定性较好,对地下水防渗漏要求较低的条件下,能够使用的既有管线位置的组合槽钢支护结构(其二),该结构由:槽钢组合板结构 1、原状钢板桩支护 2、法兰盘管线保护结构 3 组成,槽钢组合板结构1 包括末端为斜切面的 25a 槽钢,M10 螺栓,法兰盘管线保护结构 3 包括法兰盘底板、肋板、上下螺栓夹合板、M10 螺栓。如图2 所示。

既有管线位置的组合槽钢支护结构(其二)工作原理
图2 组合槽钢支护结构俯视示意图
槽钢组合板与法兰盘结构工作原理与上述组合槽钢支护结构(其一)相同
25a 槽钢末端为斜切面设计, 栓以连接成为组 并保证槽钢末端的斜切面准确贴合槽面向基坑内的原状支护钢板 向基坑外的原状支护钢板桩的槽面腿板外侧。槽钢通过末端斜切面设 专E 力整体,有效避免贴合处土体流动及地下水渗漏。
2.4 既有管线位置的组合槽钢支护结构(其二)施工技术步骤钢板桩,槽钢,法兰盘管线保护结构,螺栓的制作、质量检验
钢板桩支护施打期间,保证既有管线左右侧支护钢板桩均为槽面向基坑内,并预留足够左右侧各再施打 1个槽面向基坑外的支护钢板桩的位置。
基坑土体开挖期间,人工在既有管线位置侧壁多开挖长度为左右侧支护钢板桩中心线距离,宽度100mm\~200mm,深度与基坑底部平齐的土方。
基坑土体开挖完成后,在既有管线基坑壁附近,使用汽车吊起吊法兰盘管线保护结构上下部分在既有管线上套装并上紧螺栓,预留足够槽钢腿宽的空间,保证下一步安装的槽钢组合板结构腰面外侧与法兰底盘上部两者平面平行。
在既有管线侧面起吊槽 入上述步骤(3)预开挖好的土槽,直到槽钢腰面越过钢板桩 槽钢回填一层槽钢腰宽高度原状土,其中槽钢末端 板外侧,且槽钢腿板也刚好能贴合在下 左右侧插入槽钢为短槽钢以保证预留位置给既有管线, 结构,使既有管线附近的上下槽钢与左右短槽钢能够叠压在法兰 盘管线保 各边分别叠压100mm 以上。
在既有管线左右侧分别延续原有支护,各施打一根槽面向基坑外的支护钢板桩,并使得钢板桩槽面腿板外侧刚好贴合槽钢腿板。
最后完全回填预开挖的土槽并夯实。
含既有管线的该段基坑新建管线施工完毕后,先拔除既有管线左右侧末端各 2 根支护钢板桩,解开槽钢组合板及限位桩结构上的所有螺栓,随后使用汽车吊逐一吊起槽钢,横向水平抽出,从上往下一一拔除。再解开法兰盘管线保护结构上的所有螺栓,使用汽车吊吊起拆卸法兰盘管线保护结构。
既有管线位置的组合槽钢支护技术(其二)有效实现因既有管道而导致的槽钢或钢板桩支护不连续的情况下,既有管线位置的基坑侧壁的支护,大大降低基坑支护不连续导致的安全风险。但既有管线位置的组合槽钢支护技术(其二)相较于既有管线位置的组合槽钢支护技术(其一),缺点是需要在稳定性较好,对地下水防渗漏要求较低的基坑侧壁土体使用,且所使用槽钢有一定消耗量;优点是施工工序更为精简,效率高工期短,更加适合新建管线工程的快速流水线化施工模式。
2.5 槽钢跨越既有管线吊装的施工技术步骤
用三点吊装槽钢的方式,分别在槽钢的长边两端和槽钢中点进行三点吊装,横向水平吊装靠近既有管线。
解开靠近既有管线端的一根吊装钢索,继续横向水平吊装使得槽钢中点的吊装钢索靠近既有管线。
连接步骤(2)中解开的槽钢外侧吊装钢索,并解开槽钢中点的吊装钢索,使得槽钢可在既有管线下方吊装移动,并放入既定位置。
含既有管线的该段基坑新建管线施工完毕后,按上述步骤(3)、(2)、(1)的顺序反向施工操作,从上到下逐一拆除槽钢。
3 技术适用范围
水务管网板桩明挖工程中既有管线位置的两种组合槽钢支护技术适用于使用钢板桩作为基坑支护,但因既有管线横跨基坑导致基坑整体支护结构不连续的明挖法施工的新建管道工程,其中既有管线位置的组合槽钢支护技术(其二)更适用于需要快速流水化施工,但土体稳定性较好,对地下水防渗漏要求较低的工况。
4 工程效益
为水务管网工程明挖法施工中,因既有管线横跨基坑,导致既有管线位置基坑支护结构不连续的问题提供了解决思路及施工工法,降低了沟槽渗水及局部土体坍塌的风险 现有的既有管线位置基坑支护技术相比,本文中提供的两种组合槽钢支护技术,安全性高,大型机械与人工的调用和基坑的施工流程相契合,材料可回收重复利用,成本低,施工便捷,工期短,更适合新建管线工程的快速流水线化施工模式。
5 结语
开发了由槽钢组合板结构、限位桩结构、 法兰 管网板桩明挖工程中既有管线位置的组合槽钢支护结构(其一 槽钢支护结构(其二),并基于此形成完整施工技术。通过应用 包立项)(施工)Ⅰ标段”,为既有管线横跨基坑位置的基坑支 降低了沟槽渗水及局部土体坍塌的风险,同时实现辅助新建管 契合,占用工期少,施工效率高。验证了技术的先进性和可行性,有较大的推 应用价值 可为类似工程提供应用借鉴。
参考文献:
[1] 杭宝国 , 胡晓士 . 深基坑开挖时既有管网的支护方法与管线保护 [J]. 人民长江 ,2018,49(03):81-86.
[2] 卢毅 . 市政污水排水管网工程基坑开挖支护施工技术分析 [J]. 新型工业化 ,2022,12(03):159-161.
[3] 韩笑 . 市政污水排水管网工程基坑开挖支护施工技术 [J]. 中国高新科技 ,2021,(18):75-76.
[4] 彭富波 , 张磊 , 黄人峰 , 等 . 排水管网工程基坑开挖支护施工技术研究 [J]. 云南水力发电 ,2019,35(06):122-126.
[5] 王新宇 , 王乾鸿 , 范立雄 , 等 . 一种适用于基坑的装配式支护结构:CN221741300U[P].2024-09-20.
[6] 姚景武 , 杨澜涛 , 龙申旭 , 等 . 一种防止变形的深基坑支护装置:CN221919446U[P].2024-10-29.
[7] 刘彦泽 . 一种建筑施工的基坑支护装置:CN222295016U[P].2025-01-03.