高度控制阀自主修游隙检测方式改进
杜永进 孙川 赵建伟 郭锐 白文远
中车青岛四方机车车辆股份有限公司 山东青岛 266111
1. 问题现状
在高度控制阀检修过程中,需要进行各项试验,其销轴与阀体之间的轴向游隙大小直接影响高度控制阀动作的灵敏性和准确性。在进行高度控制阀部件自主修时需要测量主轴轴向游隙为 0.4~0 .6mm。目前检修高度控制阀时,需要手动直接提拉销轴配合千分表测量数据,由于操作不稳定,难以测得准确结果,无法满足检修要求。
高度控制阀轴向游隙测量是高度控制阀检修过程中的重要工序,在作业过程中,现有的操作方法是使用磁力表座吸附在测量平台上,调整表头位置,将其放置在销轴上方,使用手钳夹住高度控制阀销轴上方,通过拉伸销轴,实现高度控制阀的高度测量。在使用手钳拔动销轴时,变动范围较大、且不准确,质量难以保证。在进行测量时,需要反复测量,方可确认测量是否准确,工作效率较低。在进行操作时,需要 1 人进行读数,1 人进行操作,浪费作业人员。经统计,作业现场 60 个高度控制阀轴向游隙检测,共发现 25 个控制阀轴向游隙进行了返工作业。一次轴向游隙检测合格率仅为58. 33% 。且重复性作业频繁,影响检测效率。
2. 工装设计制作
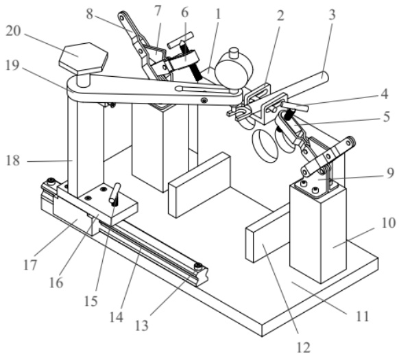
为解决上述问题,设计了一种高度控制阀轴向游隙测量装置,该装置由基座、立柱、定位板、支撑板、销轴拨叉、滑槽机构、快速锁紧装置、直线导轨机构、量表支撑腿和量表万向杆组成。利用该装置能够快速定位、夹紧高度控制阀阀体,在轴向稳定地提拉销轴,提高了测量效率与准确度。
2.1 利用该该装置能够快速定位、夹紧高度控制阀阀体,在轴向稳定地提拉销轴,提高了测量效率与准确度。同时,高度控制阀为左右件,该装置对两者均适用。
2.2 该装置具体由以下零部件组成:1- 定位板,2- 滑槽,3- 调整拨叉,4-第一T 型螺栓,5- 第一T 型螺栓座,6-U 型连接板,7- 锁紧板,8- 锁紧把手,9-L型连接板,10- 立柱,11- 基座,12- 支撑板,13- 限位套,14- 直线导轨,15-第二T 型螺栓,16- 连接板,17- 滑块,18- 支撑腿,19- 表夹,20- 压紧螺栓。

2.3 表夹准确定位结构
支撑腿顶端有一带螺纹孔的圆柱凸台,该凸台与表夹左端通孔精密配合,压紧螺栓安装在该凸台螺纹孔内,三者配合实现表夹的旋转与固定。表夹右端有一腰形通孔,腰形孔两端圆弧处可固定量表,通过安装锁紧螺栓紧固。限位
块通过安装内六角螺栓固定在表夹下方靠近左端处,限位螺栓安装在限位块螺纹通孔上,当表夹逆时针向装置内侧旋转时,限位螺栓与支撑腿表面接触,限制表夹旋转。
2.4 高度控制阀轴向游隙测量方法
(1)将表夹顺时针旋至装置外侧,把高度控制阀放到支撑板上并将带凸台一侧与定位板上沉孔对中,旋转两个锁紧把手并调整第一 T 型螺栓,保证其压紧高度控制阀;
(2)将表夹逆时针旋至装置内侧,并适当调整滑块在直线导轨上的位置,当量表与销轴对正时,旋转第二T 型螺栓和压紧螺栓,固定表夹位置;
(3)将调整拨叉插入高度控制阀销轴凹槽内,提拉拨叉手柄使销轴处于轴向最低点,通过调整表夹上的锁紧螺栓使量表刚好与销轴接触,将量表归零;
(4)按压调整拨叉手柄使销轴处于轴向最高点,记录量表数值;
(5)通过调整压紧螺栓将表夹顺时针旋至装置外侧,向装置两侧旋转锁紧把手释放高度控制阀,将高度控制阀取出,再次调整压紧螺栓将表夹逆时针旋至装置内侧,完成高度控制阀轴向游隙测量。
3、效果综述
3.1 质量提升:通过装置的使用,满足高度控制阀质量过程管控,高度控制阀轴向游隙测量装置实现主轴游隙的精准控制,工艺要求主轴轴向游隙为 0.4-0.6mm ,使用此种方式,可将游隙测量控制在 0.001mm ,提高测量准确度。一次检测合格率提升至 100% 。
3.2 效率提升:使用高度控制阀轴向游隙测量方法,保证了对高度控制阀的固定,同时通过调整拨叉、表夹与表头的配合使用,确保了轴向游隙一次检测合格,无需反复调整表头、反复拉伸,效率提升4 倍。
3.3 安全:高度控制阀轴向游隙测量杜绝了使用手钳拔动轴组装带来手指划伤、挤伤风险。
3.4 利用度:高度控制阀轴向游隙测量结构可实现游隙测量的精准控制,可精准至 0.001mm ,实现测量稳定性。结论
使用精确定位夹紧装置配合千分表进行高度控制阀轴向游隙测量,可以保证测量结果准确性,对间隙调整垫的添加就可以一次就满足要求,避免反复拆卸调整。高度控制阀轴向游隙测量装置经现场应用取得非常高的评价,值得行业内推广使用。
参考文献:
[1] 孙伟涛 . 关节轴承游隙检测仪测试力控制系统的研究 [D]. 燕山大学 ,2017.
[2] 王世良 . 自润滑关节轴承游隙研究及径向游隙检测仪设计 [D]. 燕山大学 ,2019.
[3] 于继龙 . 城轨车辆齿轮箱 ( 带车轮 ) 轴承游隙检测方法研究 [J]. 智慧轨道交通 ,2023,60(01):65-68.
[4] 李继康 . 高速列车齿轮传动系统动态特性分析及参数优化 [D]. 大连交通大学 ,2023.
[5] 李立 , 赵建国 , 甄广川 , 等 . 货车轮轴质量自动检测系统研究 [J]. 高速铁路新材料 ,2024,3(04):6-15.