光伏地面固定支架纵向支撑系统优化设计及其经济性分析
胡海波 李义梅 蒋家毅 肖祖亚 景鸿 田锐
中国电建集团贵州工程有限公司 贵州省贵阳市 550009
1 引言
截至2025 年4 月底,中国的光伏发电装机容量已超过9.9 亿千瓦(国家能源局数据),其中固定支架占光伏装机总量的80%左右,其材料成本占电站总投资的18%-25%。传统的纵向柱间支撑系统(见图1)使用圆钢(Q235B)交叉布置,施工工艺相对繁琐,且用钢量较大。本文在传统光伏支架柱间支撑布置方案的基础上,提出了改进的节点连接形式及材料选型,通过参数化建模和多目标优化算法,对支撑系统的材料选择、连接方式和尺寸进行了反复分析,得到了更为优化的柱间支撑系统布置方案。
图1 纵向柱间支撑方案布置示意图(圆钢+抱箍)

2 工程概况
某地面集中式光伏发电项目,采用倾角固定式安装方案,组件规格610Wp,尺寸2382X1134 x30mm,单块组件质量33.5 kg;支架倾角为34 度,光伏组件最低离地高度1.5m。支架采用双桩双立柱支架方案,基础采用螺旋钢桩基础。支架主要由立柱、斜梁、斜撑以及檩条组成,支架与基础为刚接,立柱与横梁、斜撑与横梁、斜撑与立柱、斜梁与檩条之间均为铰接。每个光伏组串支架单元由52 块组件组成,光伏组件采用竖向布置,2 行26 列排布方式,单个光伏组件串东西长约30m。
3 优化模型与方
3.1 技术路线

3.2 关键参数

4 验证分析
传统的地面光伏固定支架系统纵向柱间支撑一般采用十字交叉支撑,通常做法是圆钢+抱箍的连接形式(见图 2),圆钢与构件的夹角应在 30°~60°范围内,支撑按柔性拉杆进行设计,但通常计算假定的支撑点位置和实际存在出入,导致实际施工与计算假定不符,且受力性能不够合理。
图2 柱间支撑(圆钢+抱箍)

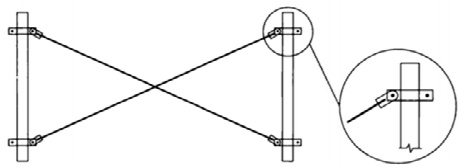
改进后的柱间支撑方案采用镀锌钢绞线+花篮螺栓的连接形式(见图3),实际支撑点位置更接近计算假定,受力性能更合理。
图3 柱间支撑(钢绞线+花篮螺栓)

4.2 计算模型
柱间支撑布置方案构建了 2×26 阵列的支架系统计算模型(见图 4),风、雪荷载相关参数按照《建筑结构荷载规范》GB50009-2012执行,具体参数详见表1。
图4 计算模型示意

4.3 计算结果
柱间支撑布置方案的整体计算结果显示,支架纵向柱间支撑采用钢绞线+花篮螺栓的方案受力性能更合理。
5 经济性分析
5.1 成本构成
以下为按两个不同布置方案所需的材料清单对比情况,如下表3、表4 所示:

通过对比可知,柱间支撑系统采用“钢绞线+花篮螺栓”的方案用钢量更少,且施工工艺更为简单。
5.2 项目实证
以本文前述工程项目为例,2x26 阵列支架约为25747 组,根据供货厂家对两个不同的柱间支撑系统方案提供的报价对比情况可知(见表5),采用“钢绞线+花篮螺栓”的方案可节约用钢量约为710 吨,预计可节约材料成本约390 万元。每吨钢材产生的碳排放量按2 吨计算,预计可减少碳排放量约1420 吨。

6 结论
1.支架纵向柱间支撑系统采用“钢绞线+花篮螺栓”的布置方案相较于传统常规布置方案(圆钢+抱箍连接),用钢量减少60%。
2.材料成本减少46%,且施工效率更高。
3.优化后的方案能满足国标规程规范的要求,可靠性好。
4.本项目案例仅就纵向柱间支撑系统而言,可节约用钢量约710吨,预计可减少碳排放量1420吨。
参考文献:
[1]GB 50009-2012建筑结构荷载规范.北京:中国建筑工业出版社,2012.
[2]GB 50017-2017钢结构设计标准.北京:中国建筑工业出版社,2018.
[3]NB/T 10115-2018光伏支架结构设计规程.北京:中国计划出版社,2018.