防口腔黏膜损伤的新型可调节气管插管牙垫设计与应用
郭婷 王娟
中山大学附属第三医院 广东广州 510630
气管插管是建立人工气道的关键技术,在临床麻醉与危重症救治中应用广泛。然而,传统牙垫因结构固定、材质较硬,常因无法适应患者个体化的口腔解剖结构,导致气管导管或牙垫本身对口腔黏膜、牙龈造成摩擦、压迫性损伤,增加患者痛苦与感染风险 [1]。为解决此临床难题,本研究设计并验证了一款新型可调节式气管插管牙垫,旨在通过个体化适配,有效保护口腔黏膜,提升插管安全性与患者舒适度。
1. 设计原理与结构
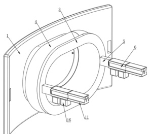
该新型牙垫(图 1、图 2)的核心设计思想在于其模块化拼接与角度自适应调节功能。
图 1

图 2

1.1 主体结构与固定方式
牙垫主体由贴合患者口唇部的弧形挡板(1) 和左右对称的空心板(5)构成。挡板中央设有供气管导管通过的通孔 (2) 及限制其位移的 L 形限位环 (3),外侧壁附有缓冲咬合力的气垫 (4)。为替代传统胶布固定,挡板两侧预留了固定孔(17),可连接绑带,避免皮肤刺激与过敏。
1.2 核心调节机制
1.2.1 长度与形态的个体化拼接
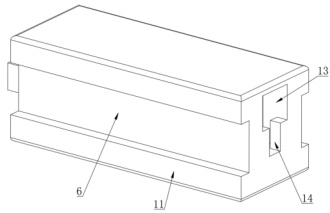
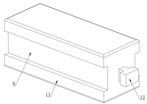
牙垫两侧的保护结构由可拆卸的拼接板 (6)(图 5、图 6)构成。拼接板采用模块化设计,通过T 形块(12) 与T 形槽(14) 的滑入式卡接,可根据患者口腔深度与牙弓形态,快速增减拼接板数量,实现长度的个性化定制。拼接板上下表面均覆盖有柔软的生物相容性硅胶垫 (11),直接接触牙列与黏膜,起到缓冲和隔离保护作用。针对牙齿缺失的患者,拼接板底部预留了螺孔 (15),可安装填充块 (16),以填补缺牙间隙,保护牙龈(图4)。
图 5

图 6

图 4

1.2.2 角度的精准自适应调节
为实现对牙弓内侧黏膜的完全贴合,空心板 (5) 内部设有精密的角度调节机构(图3、图 7)。该机构由螺杆(10)、齿条 (9) 及齿轮组(7, 8)构成。操作者通过旋转外部的螺杆,驱动齿条线性移动,进而带动半齿轮 (7) 与圆齿轮 (8) 啮合转动,从而精确调节拼接板 (6) 的整体角度。这一设计使得硅胶垫能够紧密贴合不同患者的牙弓内侧弧度,形成一道有效的“保护屏障”,彻底隔绝气管导管对黏膜的潜在摩擦。
图 3

图 7

2. 临床应用方法
(1)评估与组装:根据患者口腔大小、牙弓弧度及牙齿缺失情况,选择合适数量的拼接板进行组装,并在相应位置安装填充块。(2)放置与固定:将组装好的牙垫置入患者口腔,使挡板贴合口唇部,并通过预留孔系上绑带固定。(3)调节与插管:旋转调节螺杆,使两侧的硅胶垫完全贴合牙弓内侧。确认固定牢固后,将气管导管经由通孔顺利置入气道。
3. 优势与讨论
本新型牙垫相较于传统产品,具有显著优势:(1)高度个体化:通过长度拼接与角度调节的双重机制,实现了对不同患者口腔解剖结构的精准适配,解决了传统牙垫“一刀切”的根本局限。(2)双重保护:柔软的硅胶垫不仅有效隔离了气管导管,防止其对舌侧和颊侧黏膜的直接摩擦,其缓冲作用也保护了牙齿和牙龈,对缺牙区牙龈的保护尤为周全。(3)安全性与舒适性提升:通过形成连续、贴合的保护界面,显著降低了口腔黏膜损伤、出血及继发感染的风险。无胶布化的固定方式也提升了患者的舒适度。
4. 结论
该新型防口腔黏膜损伤的气管插管牙垫,设计科学,结构创新。它通过模块化和可调节的设计理念,有效解决了临床气管插管中常见的口腔软组织损伤问题。该装置操作便捷,能显著提升插管操作的安全性与病人体验,具有重要的临床应用价值和广阔的推广前景。
参考文献:
[1] 缪国璧 , 唐梦琳 . 经口气管插管固定牙垫对皮肤损伤的研究 [J]. 护 士 进 修 杂 志 ,2016,31(24):2291-2292. DOI:10.16821/j.cnki.hsjx.2016.24.031.