一种烟叶解包用的瓦楞纸箱内衬纸板夹取装置的研制
徐公庆
广西中烟工业有限责任公司柳州卷烟厂 广西壮族自治区 545000
一、前言
烟草行业烟叶加工工序中,通常采用多轴抓取机械臂配合相应的多功能夹具将内外包装纸箱、包装塑料袋和瓦楞纸箱内衬纸板等包装物与烟块分离实现烟叶解包流程。其中瓦楞纸箱内衬纸板平铺置于烟块顶部,目前多轴抓取机械臂采用的夹具利用带倒刺的钢钉穿过内衬纸板,在钢钉与内衬纸板摩擦力以及钢钉倒刺的共同作用下夹取内衬纸板。但是这种夹取方式对钢钉尖部的锋利程度要求很高,若存在钢钉尖部磨损或表面积垢的情况,使得钢钉穿过内衬纸板的孔径变大,钢钉倒刺和摩擦作用力大幅度下降,导致内衬纸板扎取失败或机械臂在移动过程中出现纸板松脱现象。因此,针对现有瓦楞纸箱内衬纸板夹取装置存在的不足之处,设计一种可稳定夹持内衬纸板的新型夹具对提升烟叶解包流程工艺稳定性降低故障率具有重要意义。
二、本装置的技术方案
一种烟叶解包用的瓦楞纸箱内衬纸板夹取装置,主体安装在矩形中空壳体内其尾部通过螺栓安装在机械臂头部机架上,装置中部布置一凹形块,凹形块与壳体之间形成左右两安装孔为钢钉提供安装通道。
进一步地,左右两气缸布置于与安装孔位置垂直的机械手机架上,气缸活塞通过铰链与钢钉连接,气缸活塞可控制钢钉上下移动而铰链赋予钢钉左右活动的能力。
进一步地,为保障左右两气缸的气密性,气缸活塞必须与气缸保持垂直状态,因此在壳体两侧内部各布置一定位块,定位块用于限制气缸活塞左右活动角度,因此仅有铰链下部的钢钉部分可实现左右活动能力。
进一步地,左右两钢钉中部各布置一限位铰链,限位铰链可实现钢钉活动角度固定功能,防止抓取移动过程中钢钉发生活动导致内衬纸板脱落。
进一步地,通过限位铰链与连杆,将左右两钢钉与装置中部的定位杆连接成一个整体。
进一步地,定位杆尾部嵌入凹形块的定位槽内,定位槽限制定位杆的垂直移动距离,定位杆头部布置一撞块并可通过定位螺母调节撞块的垂直位置,以满足不同工况下内衬纸板的抓取。
进一步地,由活动钢钉、铰链、限位铰链、连杆、定位杆、撞块等部件共同组成新型瓦楞纸箱内衬纸板夹取装置的活动抓取模块,当机械手移动至夹取位时,在左右气缸作用下,活动抓取模块整体向下移动,钢钉刺穿内衬纸板,撞块与烟块顶部接触后被垂直向上顶起,直至定位杆尾部与定位槽底部重合,在此过程中在连杆作用下两侧活动钢钉向外撑开卡住内衬纸板,限位铰链将活动钢钉角度固定防止抓取移动过程中内衬纸板脱落。
进一步地,当机械手移动至纸板回收位时,左右气缸向上收缩,使活动抓取模块整体向上移动,但由于定位槽导致定位杆无法实现向上移动,在连杆的作用下两侧活动钢钉角度向内收缩使其无法卡住内衬纸板,最终内衬纸板被夹取装置外层壳体顶出至纸板回收位。
三、附图说明
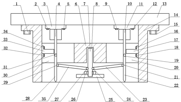
图中:螺栓 1、螺栓 2、气缸 3、活塞杆 4、螺栓 5、凹形块 6、定位杆7、定位槽 8、螺栓 9、活塞杆 10、气缸 11、螺栓 12、机械手机架 13、壳体 14、螺栓 15、螺栓 16、定位块 17、螺栓 18、铰链 19、安装孔 20、限位铰链 21、钢钉 22、连杆 23、铰链 24、撞块 25、定位螺母 26、铰链 27、钢钉 28、限位铰链 29、安装孔 30、铰链 31、螺栓 32、定位块 33、螺栓34。
图 1 夹取装置的整体结构示意图

四、具体实施
以下结合附图,对本实用新型具体实施作进一步说明:
所述新型烟用内衬纸板夹取装置布置于多用途机械手机架 13 上,矩形中空壳体 14 通过螺栓 1 和螺栓 15 与机械手机架 13 连接,夹取装置本体布置于壳体 14 的中空腔体内。气缸 3 和气缸 11 通过螺栓固定左右于机械手机架 13 上,气缸 3 和气缸 11 分别可调节活塞杆 4 和活塞杆 10 伸缩,活塞杆伸缩方向指向壳体 14 底部开口,定位块 17 和定位块 33 壳体各安装于14 内壁两侧并通过螺栓固定用于防止活塞杆发生左右偏移。活塞杆 4 和活塞杆 10 头部分别通过铰链 31 和铰链 19 与钢钉 28 和钢钉 22 连接,利用铰链的可活动性使钢钉具备一定的左右偏移能力。夹取装置中部布置一凹形块 6,凹形块 6 与壳体 14 之间形成安装孔 20 和安装孔 30 以便钢钉安装,凹形块6 下方布置一定位杆7 其头部通过定位螺母26 安装一高度可调的撞块 25,定位杆 7 中部左右两侧通过铰链(24、27)和连杆(23、35)连接至钢钉中部的限位铰链(21、29)。铰链(19、24、29、31)、钢钉(22、28)、限位铰链(21、29)、连杆(23、35)、定位杆 7、撞块 25 共同组成了内衬纸板夹取装置的可活动夹取模块。
当机械手移动至夹取位需要完成内衬纸板夹取动作时,机械手将夹取装置移动至烟块上方,气缸 3 和气缸 11 推动活塞杆 4 和活塞杆 10 向下伸出,使夹取装置头部的可活动夹取模块整体下移,钢钉 22 和 28 刺穿内衬纸板后继续向下,撞块 25 接触烟块上表面后推动定位杆 7 向上移动直至定位杆 7 尾部与凹形块 6 凹槽底部重合,在此过程中连杆 23 和 35 分别推动钢钉 22 和 28 向外撑开以此达到张紧内衬纸板防止其脱落的目的,限位铰链 21 和 29 用于保证钢钉向外撑开后固定于特定角度防止其受到外力作用发生摆动导致内衬纸板固定不稳。
当机械手移动至内衬纸回收位需要完成内衬纸板放下动作时,气缸 3和气缸 11 调节活塞杆 4 和活塞杆 10 向上收缩,使夹取装置头部的可活动夹取模块整体上移,但由于定位杆 7 尾部与凹形块 6 凹槽底部重合导致定位块 7 无法向上移动,使得定位块 7 通过左右连杆 23 和 35 拉动钢钉 22 和28 角度向内收缩,减小钢钉撑开角度达到放松内衬纸板的目的,同时气缸收缩使左右钢钉 22 和 28 收缩至壳体 14 内,而内衬纸板由于被壳体 14 阻挡而脱离钢钉使内衬纸板脱落至回收点位。
[参考文献]
[1] 朱东华,吴保平,杜峰.对制丝线纸箱开包系统的改进[J].工业技术,2012(17):57-58.
[2] 徐国瑞.开包机卡料问题的探索[J].农业技术与装备,2010(6)72,74.