考虑地面不平整度的自适应单梯防滑固定装置力学模型构建
周西南
贵州电网有限责任公司凯里供电局 贵州凯里 556000
1 引言
随着我国城市化进程的加快和电网基础设施的不断完善,电力系统的安全稳定运行对于保障社会经济发展具有重要意义。在低压配电线路、装表接电、FTU、TTU 等维护工作中,往往使用到梯子作业,在梯子使用过程中,安规要求梯子应坚固完整,有防滑措施,架设稳固,若梯子不能架设稳固时,应设专人扶持或绑扎牢固 [1]。若使用单梯工作时,梯与地面的斜角度为 60∘ °左右。目前在梯子上作业时,超过两米以上作业没有牢固的地方系安全带,导致作业人员高处或临边作业失去安全带保护。特别是在山区、丘陵地带等复杂地形,由于地面起伏较大,电网设备如单梯防滑固定装置的稳定性面临严峻挑战。地面不平整度对自适应单梯防滑固定装置的影响主要体现在以下几个方面:
(1)摩擦力变化:地面不平整会导致梯子与地面接触点的摩擦力发生变化,从而影响整体稳定性。
(2)梯子变形:地面不平整会导致梯子在接触点产生局部变形,影响梯子的整体刚度和强度。
(3)固定点受力:地面不平整会导致固定点受力不均匀,可能引发固定装置的损坏。
在地面不平整度较大的环境下,固定装置需要具备自适应调整能力,以适应不同的地形条件。因此,研究考虑地面不平整度的电网自适应单梯防滑固定装置力学模型,具有重要的理论意义和应用价值。研究结果表明,该自适应单梯防滑固定装置在应对地面不平整时具有更高的稳定性和可靠性,对提高交通安全具有重要意义。
2 单梯防滑固定装置设计
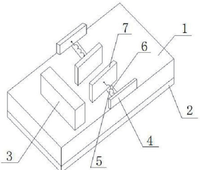
本文设计梯子防滑固定装置,所述支撑装置包括设置在固定板上的两个支撑板,支撑板的下端连接有滑块;所述固定板上设置两个滑动槽,滑动槽底部的宽度大于其开口的宽度;滑块置于滑动槽内并与滑动槽相配合;两个支撑板外侧的固定板上设有连接板,连接板与相邻的支撑板之间设有弹簧;述固定板的底部有防滑垫,防滑垫的下表面设有花纹;固定板上固定设置有可防止梯子底部滑移的挡板;适用于不同规格尺寸的梯子,并适用于多种地面特征 [2];梯子放置在任何角度时都能保证梯子与地面的接触面积最大,磨损较慢,实用性强,操作安全,方便快捷。采用该防滑固定装置,实现了以下目的:
(1)适用于不同规格尺寸的梯子 ;
(2)适用于多种地面特征 ;
(3)梯子放置在任何角度时都能保证梯子与地面的接触面积最大,磨损较慢,实用性强,操作安全,方便快捷。
为解决以上技术问题,本文采用以下技术方案 :一种梯子防滑固定装置,其特征在于:包括固定板,固定板上设置有支撑装置。
(1)所述支撑装置包括设置在固定板上的两个支撑板,支撑板的下端连接有滑块 ;
(2)所述固定板上设置两个滑动槽,滑动槽底部的宽度大于其开口的宽度 ;
(3)所述滑块置于滑动槽内并与滑动槽相配合。
(4)进一步地,所述两个支撑板外侧的固定板上设有连接板,连接板与相邻的支撑板之间设有弹簧。
(5)所述固定板的底部有防滑垫,防滑垫的下表面设有花纹。
(6)所述固定板上固定设置有可防止梯子底部滑移的挡板。
使用时:将梯子底部放入两个支撑板 7 之间,由于滑块 8 可以在滑动槽 5 内滑动,所以支撑板 7 在滑块 8 的带动下可以沿滑动槽 5 方向滑动,两个支撑板 7 在弹簧 6 的压力作用下将梯子固定住,防止梯子底部左右方向的滑移,可以适合不同宽度的梯子使用。另外,挡板
3 可以防止梯子底部前后方向的滑移。
本文采用以上技术方案后,与现有技术相比,具有以下优点:适用于不同规格尺寸的梯子,并适用于多种地面特征;梯子放置在任何角度时都能保证梯子与地面的接触面积最大,磨损较慢,实用性强,操作安全,方便快捷。
图1 梯子防滑固定装置的结构示意图

1- 固定板,2- 防滑垫,3- 挡板,4- 连接板,5- 滑动槽,6- 弹簧,7- 支撑板,8- 滑块
3 自适应单梯防滑固定装置力学模型构建
3.1 工作原理
自适应单梯防滑固定装置是针对电网建设中,由于地面不平整导致的设备固定困难问题而设计的一种新型装置。其工作原理主要基于以下几方面:
(1)传感器监测与反馈:该装置配备有高精度的地面倾斜传感器,能够实时监测地面的倾斜角度和坡度 [3]。当地面出现倾斜时,传感器会立即检测到这一变化,并将数据传输至控制单元。
(2)自适应调节机构:装置的核心部分是自适应调节机构,它由多个可伸缩的支撑杆和连接件组成。当传感器检测到地面倾斜时,调节机构会根据倾斜角度自动调整支撑杆的长度,以确保装置的稳定性。
(3)防滑设计:在支撑杆的末端,装置采用了特殊的防滑材料,这些材料具有优异的抓地力,能够在不同地形和气候条件下保持良好的防滑性能。
3.2 力学模型构建
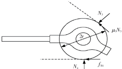
自锁防滑装置部件的受力分析见图 2。对滚轮进行受力分析,可以得到:
图2 滚轮受力分析

3.3 试验研究
为验证自适应单梯防滑固定装置抗滑能力,利用抗风防滑能力试验平台对其实际工况最大防滑力进行整机试验研究。防滑固定装置实物见图 3。
图3 单梯防滑固定装置实物

自适应单梯防滑固定装置的成功取得了很大的安全效益和经济效益
(1)自适应单梯防滑固定装置适应不同的地面环境,起到良好的防滑效果,保证了工作人员登梯工作的人身安全;
(2)自适应单梯防滑固定装置选用不锈钢和高耐磨橡胶,非常耐用、耐磨,可以长时间使用;
(3)自适应单梯底端不会与地面直接接触,梯子底部不会被磨坏同时防滑器还紧固了梯子底部,能有效防止梯子开裂。
4 使用注意事项
(1)载荷禁止超过多功能绝缘梯的工作负荷。梯子上有人时,严禁移位。只允许 1 人攀登梯子或在梯子上工作。
(2)多功能绝缘梯梯脚具有防滑效果,但仍然需要有工作人员用手直接扶住梯子保护梯上作业人员,并用脚踩住梯子的底脚,以防底脚发生移动。
(3)登梯作业人员必须穿平底鞋,以免打滑发生意外。作业人员攀登梯子或工作时,总是保持身体在梯梆的横撑中间,身体保持正直,不能伸到外面,否则可能会因为失去平衡而发生意外。
(4)遵守一般梯子使用规定,定期进行试验,合格后方可继续使用。
结语
地面不平整会导致电网设备基础不稳,从而影响设备的正常运行和安全性。特别是在单梯防滑固定装置中,地面不平整容易造成装置的倾斜、松动甚至脱落,进而引发安全事故。研究自适应单梯防滑固定装置力学模型构建具有重要的理论意义和应用价值,对于保障电网安全、降低维护成本、促进电网建设等方面具有重要意义。
参考文献
[1] 叶家洪 , 林明伟 . 绝缘梯固定防滑装置的研制 [J]. 电工技术 ,2019(10):2.DOI:CNKI:SUN:DGJY.0.2019-10-017.
[2] 王 小 龙 , 罗 原 , 任 帅 , 等 . 手 摇 式 脱 挂 抱 索 器 防 滑 力检 测 装 置 [J]. 起 重 运 输 机 械 , 2023(19):86-92.DOI:10.3969/j.issn.1001-0785.2023.19.018.
[3] 陈骏 . 基于物理学设计防滑功能的新型工业机器人夹持器 [J].美化生活 , 2021(7):0100-0101.